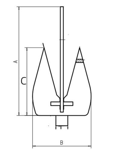
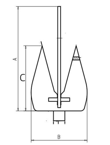
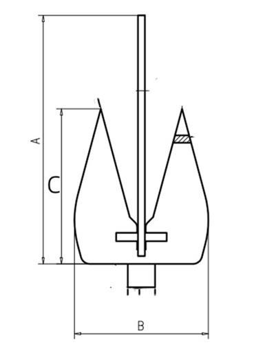
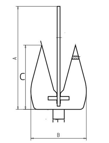
Ankers
Filter en sorteer
129,00
89,99
Direct leverbaar
32,95
24,45
Direct leverbaar



































